Ford đăng ký sáng chế hệ thống kiểm tra chất lượng không khí taxi

sao sao sao sao sao
Doanh nghiệp 24/04/2020 06:29

Hệ thống cung cấp thông tin giúp người sử dụng taxi công nghệ biết trước chất lượng không khí, mùi và khả năng tồn tại vật chất gây dị ứng bên trong taxi ứng dụng.

 

screen-shot-2020-04-21-at-8-03-31-am-1587470648
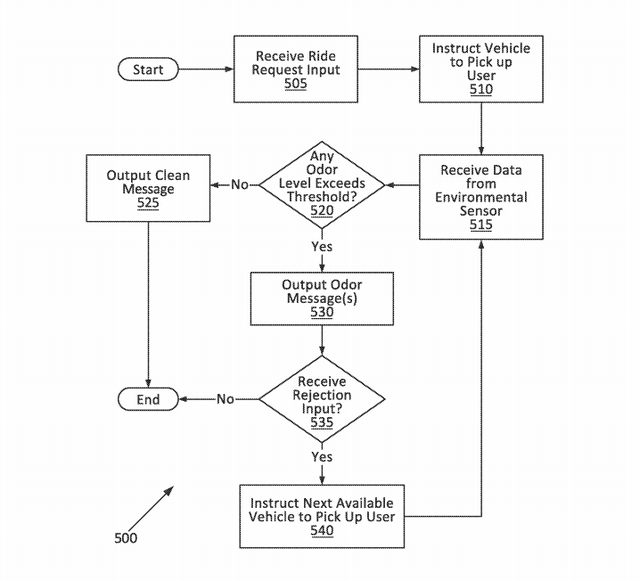
Bản vẽ đăng ký sáng chế hệ thống kiểm tra mùi và không khí, mô tả giao thức liên lạc giữa ứng dụng điện thoại, thiết bị bên trong xe và máy tính trung tâm. Ảnh: Ford

Các nhà sáng chế của công ty sản xuất xe hơi Ford vừa đăng ký sáng chế hệ thống nhận biết mùi và chất lượng không khí bên trong xe, qua đó giúp khách hàng có trải nghiệm tốt hơn khi sử dụng taxi ứng dụng.

Đối với những người hay sử dụng taxi, taxi công nghệ để di chuyển, chất lượng không khí kém, mùi khó chịu thậm chí là tác nhân gây dị ứng là những trở ngại...là những nguyên nhân khiến cho trải nghiệm sử dụng bị giảm sút. Sáng chế của Ford cung cấp giải pháp nhận diện chất lượng môi trường bên trong xe và cập nhật thông tin trên ứng dụng trong thời gian thực để người dùng có thể đưa ra quyết định sử dụng dịch vụ.

Bằng sáng chế đưa ra mô tả chi tiết về một hệ thống bao gồm các cảm biến đo môi trường, các thuật toán về dữ liệu nhằm đánh giá về khả năng chấp nhận của người dùng đối với chất lượng môi trường bên trong phương tiện. Những chỉ số trên sẽ được cập nhật trên ứng dụng cùng với các thông tin cơ bản khác như tên tài xế, biển số xe và các đánh giá của người dùng. Bên cạnh đó, trong những trường hợp người dùng có tiền sử dị ứng nặng, hệ thống trên có vai trò quan trọng trong việc đảm bảo an toàn y tế cho khách hàng có nguy cơ cao.

screen-shot-2020-04-21-at-8-03-18-am-1587471318
Mô tả quá trình đánh giá của hệ thống giữa ưu tiến của người dùng và các chỉ số môi trường trong xe. Ảnh: Popularmechanics

Về giải pháp thực thế trên ứng dụng, sở thích của người dùng sẽ được cập nhật trên ứng dụng điện thoại. Các chỉ số trên sẽ được cập nhật trên hệ thống kiểm tra không khí bên trong xe. Sau khi so sánh chất lượng môi trường và mùi bên trong xe, kết quả thu được sẽ được so sánh với thông số. Trong trường hợp chất lượng không khí kém hơn so với mức độ chịu đựng của khách hàng thực tế, ứng dụng sẽ loại bỏ kết quả và tự động tìm kiếm  những phương tiện khác có chỉ số phù hợp hơn.

Hiện tại Ford chưa đưa ra thông tin chi tiết về cấu tạo hoạt động của hệ thống trên. Tuy nhiên, những thông tin trên bằng sáng chế cũng cung cấp phần nào về các thiết bị cơ bản như cảm biến quang học, máy quang phổ và cảm biến bán dẫn oxit kim loại. Hiện tại công nghệ kiểm tra mùi đang được sử dụng rộng rãi trong các ngành mỹ phẩm, thực phẩm bằng cách sử dụng các phản ứng hóa học để phát hiện mùi trong mẫu hợp chất.

Hệ thống nhận biết môi trường hiện đang được kỳ vọng sẽ giúp Ford cải thiện cách khách hàng sử dụng taxi ứng dụng - lĩnh vực có sự cạnh tranh khốc liệt khi doanh thu đến trực tiếp từ khả duy trì đánh giá tích cực của khách hàng. Tuy nhiên, Ford có thể sẽ mất một khoảng thời gian dài để có thể đưa sáng chế trên vào thị trường taxi ứng dụng.

Ý kiến của bạn

Bình luận

Công ty CP Đường sắt Quảng Bình: Phát huy tinh thần “đơn vị tốp đầu” khối quản lý bảo trì đường sắt quốc gia

Công ty CP Đường sắt Quảng Bình: Phát huy tinh thần “đơn vị tốp đầu” khối quản lý bảo trì đường sắt quốc gia

Từ những kết quả khả quan đạt được trong năm 2025, Công ty CP Đường sắt Quảng Bình đề ra mục tiêu và các giải pháp cụ thể để phấn đấu năm 2026 tiếp tục nằm trong tốp dẫn đầu khối các đơn vị quản lý bảo trì đường sắt quốc gia.

Doanh nghiệp
Công ty CP Thông tin tín hiệu Đường sắt Đà Nẵng: “Chủ động - Đổi mới - An toàn” trong quản lý, bảo trì thông tin tín hiệu đường sắt

Công ty CP Thông tin tín hiệu Đường sắt Đà Nẵng: “Chủ động - Đổi mới - An toàn” trong quản lý, bảo trì thông tin tín hiệu đường sắt

Năm 2025, Công ty CP Thông tin tín hiệu Đường sắt Đà Nẵng tiếp tục ghi dấu một giai đoạn nỗ lực bền bỉ và chuyển biến tích cực trong công tác quản lý, bảo trì hệ thống thông tin tín hiệu, góp phần quan trọng vào việc bảo đảm an toàn chạy tàu và giao thông đường sắt quốc gia.

Doanh nghiệp
Đường sắt qua Thanh Hóa ngày càng êm thuận, an toàn nhờ những giải pháp đồng bộ

Đường sắt qua Thanh Hóa ngày càng êm thuận, an toàn nhờ những giải pháp đồng bộ

  Trên tuyến đường sắt quốc gia qua địa bàn tỉnh Thanh Hóa, chất lượng hạ tầng và điều kiện chạy tàu ngày càng được nâng cao. Cùng với đó, số lượng lối đi tự mở qua đường sắt từng bước được thu hẹp, cảnh quan dọc tuyến được chỉnh trang theo hướng xanh – sạch – đẹp, góp phần bảo đảm an toàn chạy tàu và tạo diện mạo khang trang cho hành lang đường sắt.

Doanh nghiệp
Hơn 7.000 người đi bộ từ thiện Đinh Thiện Lý quyên góp 2,3 tỷ đồng giúp đỡ người nghèo

Hơn 7.000 người đi bộ từ thiện Đinh Thiện Lý quyên góp 2,3 tỷ đồng giúp đỡ người nghèo

Chương trình đi bộ từ thiện Đinh Thiện Lý thu hút hơn 7.000 người đi bộ đã quyên góp được 2,3 tỷ đồng nhằm hỗ trợ xây dựng, sửa chữa nhà tình nghĩa, hỗ trợ vốn sinh kế, trao tặng phương tiện mưu sinh… cho người nghèo có hoàn cảnh khó khăn.

Doanh nghiệp
Công ty CP Quản lý bảo trì ĐTNĐ số 1 với công tác đảm bảo an toàn giao thông đường thủy

Công ty CP Quản lý bảo trì ĐTNĐ số 1 với công tác đảm bảo an toàn giao thông đường thủy

Công ty CP Quản lý bảo trì đường thủy nội địa số 1 là đơn vị có truyền thống, kinh nghiệm lâu năm trong công tác quản lý bảo trì, đảm bảo an toàn giao thông đường thủy.

Doanh nghiệp
Nỗ lực bảo đảm luồng tuyến đường thủy sông Đuống, Cầu thông suốt, an toàn

Nỗ lực bảo đảm luồng tuyến đường thủy sông Đuống, Cầu thông suốt, an toàn

Với vai trò quản lý bảo trì các tuyến đường thủy quốc gia sông Đuống, Cầu, Lục Nam..., Công ty cổ phần Quản lý đường sông số 4 luôn chủ động, nỗ lực để bảo đảm giao thông thủy thông suốt, an toàn.

Doanh nghiệp