Lựa chọn giải pháp cầu cạn phù hợp điều kiện khu vực
Công nghệ thi công cầu nhanh (Accelerated Bridge Construction, ABC) với các giải pháp thiết kế, lựa chọn vật liệu, phương pháp thi công tiên tiến được xem là hướng tiếp cận hiệu quả nhằm giảm thời gian thi công, ô nhiễm môi trường và cản trở giao thông. Các đặc điểm địa hình, khí hậu của ĐBSCL cũng được phân tích để đề xuất các giải pháp cầu cạn thi công nhanh phù hợp.
Phương án cầu cạn thường được cân nhắc lựa chọn trong những trường hợp đặc biệt, như: Cầu đi qua đô thị có nhiều điểm giao cắt, khu bảo tồn thiên nhiên, khu vực nền đường phải đào sâu hoặc đắp cao, cần đảm bảo khẩu độ thoát lũ hoặc nền đường yếu. Cầu cạn cũng giúp giảm thiểu chia cắt dân sinh hai bên tuyến đường.

Hình 1: Các tác nhân khí hậu và phi khí hậu tác động đan xen đến ngành Xây dựng ở ĐBSCL. Nguồn: Lê Tuấn Anh, Tạp chí Xây dựng, ngày 6/1/2022
Cơ sở lý thuyết và phương pháp nghiên cứu công nghệ thi công cầu nhanh (Accelerated Bridge construction, ABC)
Công nghệ thi công cầu nhanh là hoạt động xây dựng công trình cầu, trong đó sử dụng sáng tạo các kế hoạch, giải pháp thiết kế, lựa chọn vật liệu, thiết bị, phương pháp thi công và biện pháp tổ chức thi công tiên tiến, an toàn và hiệu quả nhằm giảm tối đa thời gian thi công tại công trường, giảm cản trở giao thông và ô nhiễm môi trường... khi xây dựng mới hoặc thay thế cầu cũ.
Thi công nhanh có các ưu điểm chính như sau:
- Thi công nhanh cải thiện:
+ Thích nghi với nhiều điều kiện khu vực xây dựng;
+ Tổng thời gian thi công với chi phí hợp lý;
+ Chất lượng vật liệu và độ bền của công trình;
+ An toàn lao động trong công trường, ATGT công cộng.
- Thi công nhanh làm giảm:
+ Tác động đến giao thông công cộng;
+ Thời gian thi công tại hiện trường;
+ Tác động xấu do thời tiết.
- Thi công nhanh có thể giảm thiểu:
+ Tác động đến môi trường xung quanh dự án;
+ Tác động đến hệ thống đường giao thông hiện hữu;
+ Tác động đến các công trình tiện ích và phạm vi của tuyến đường sắt, bộ liên quan.
Một công trình áp dụng công nghệ thi công thông thường phải mất khoảng thời gian 15 - 20 tháng, trong khi áp dụng công nghệ thi công nhanh thì thời gian có thể rút ngắn khoảng 1/4 so với thi công truyền thống hoặc thậm chí chỉ mất 1h đến 24h cho trường hợp thi công một nhịp cầu (bậc 1 về thi công nhanh).
Thứ bậc của giải pháp kết cấu và công nghệ tiên tiến cho thi công nhanh được chia làm 5 bậc, xét theo yếu tố thời gian do tác động đến hoạt động xây dựng công trình cầu đối với lưu thông của phương tiện giao thông trên mạng lưới đường như sau:
Bậc 1: Tác động giao thông trong vòng 1h đến 24h;
Bậc 2: Tác động giao thông trong vòng 3 ngày;
Bậc 3: Tác động giao thông trong vòng 2 tuần;
Bậc 4: Tác động giao thông trong vòng 3 tháng;
Bậc 5: Tác động giao thông trên 3 tháng.
Triết lý thiết kế - thi công và hướng nghiên cứu phát triển của công nghệ này là chế tạo sẵn các bộ phận cầu có kích thước thanh mảnh, nhẹ, bền..., dễ vận chuyển và lắp ghép nhanh tại công trường; hoặc kết cấu nhịp cầu lắp sẵn hoàn toàn tại nơi khác ngoài công trường, sau đó chở cả nhịp bằng xe đặc chủng mô-đun (SPMTs) rồi lắp vào vị trí nhịp đã xây dựng mố trụ cầu.
Để vượt qua các thách thức này, các chủ đầu tư và nhà thầu xây dựng đã phải có kế hoạch, phương án thi công chu đáo, sử dụng công nghệ và thiết bị thi công hiện đại. Các giải pháp thiết kế kết cấu nhịp cầu có thể được đề xuất, bao gồm:
* Sử dụng kết cấu nhịp cầu bằng thép hoặc bê tông đúc sẵn:
- Kết cấu nhịp cầu bằng thép có thể được sản xuất và lắp ráp nhanh chóng tại nhà xưởng, giảm thời gian thi công tại công trường.
- Sử dụng bê tông đúc sẵn cho các phần tử cấu kiện như dầm, sàn cũng có thể rút ngắn đáng kể thời gian thi công.
* Tối ưu hóa thiết kế kết cấu:
- Áp dụng các phương pháp tính toán tiên tiến như phương pháp phần tử hữu hạn để thiết kế kết cấu nhịp cầu tối ưu;
- Sử dụng vật liệu mới như composite, thép cao cường để giảm trọng lượng kết cấu.
* Ứng dụng công nghệ thi công tiên tiến:
- Sử dụng các thiết bị thi công thông minh, ít phát thải như máy ủi, máy xúc hybrid hoặc điện;
- Áp dụng các biện pháp quản lý chất thải xây dựng như tái chế, tái sử dụng.
Phân tích và đề xuất giải pháp cầu cạn thi công nhanh cho cao tốc ĐBSCL
* Đặc điểm địa hình, điều kiện tự nhiên của ĐBSCL:
- Địa hình thấp trũng, nhiều sông ngòi, kênh rạch, nền đất yếu;
- Chịu tác động mạnh của biến đổi khí hậu như ngập lụt, xâm nhập mặn, sạt lở;
- Nhu cầu xây dựng hạ tầng giao thông cao, đặc biệt là mạng lưới đường cao tốc.
* Các yêu cầu kỹ thuật, thi công cho cầu cạn cao tốc tại ĐBSCL:
- Đáp ứng tải trọng thiết kế lớn (HL93) với độ an toàn cao;
- Thi công nhanh chóng, giảm thời gian ngắt quãng giao thông;
- Hạn chế tác động tiêu cực đến môi trường, thích ứng với biến đổi khí hậu;
- Đảm bảo khẩu độ thoát lũ, giảm chia cắt dân sinh.
* Đề xuất giải pháp cầu cạn thi công nhanh phù hợp với ĐBSCL:
Dựa trên phân tích ưu, nhược điểm của các giải pháp cầu cạn hiện có, giải pháp phù hợp nhất cho cầu cạn cao tốc tại ĐBSCL là:
- Sử dụng kết cấu dầm bê tông cốt thép đúc sẵn:
+ Ưu điểm: Thi công nhanh, ít ảnh hưởng môi trường, dễ vận chuyển, lắp đặt.
+ Nhược điểm: Yêu cầu độ chính xác cao, khó đạt tải trọng lớn.
+ Giải pháp: Kết hợp dầm đúc sẵn với công nghệ bản mặt cầu bê tông đúc tại chỗ, sử dụng cốt thép dự ứng lực để tăng khả năng chịu lực.
- Áp dụng công nghệ thi công cầu nhanh (Accelerated Bridge Construction - ABC):
+ Ưu điểm: Rút ngắn thời gian thi công, ít ảnh hưởng đến giao thông.
+ Nhược điểm: Yêu cầu phương tiện, công nghệ thi công chuyên biệt.
+ Giải pháp: Sử dụng các kỹ thuật như dầm đúc sẵn, lắp đặt nhanh, đúc tại chỗ... để tối ưu hóa tiến độ thi công.
- Đảm bảo yêu cầu kỹ thuật, giảm tác động môi trường:
+ Thiết kế kết cấu cầu đáp ứng tải trọng HL93, chịu tác động của biến đổi khí hậu;
+ Lựa chọn vật liệu, công nghệ thi công có độ bền, tính bền vững cao;
+ Giảm thiểu phát thải, gia tăng khả năng thích ứng của công trình.
Mục tiêu của các giải pháp đề xuất nhằm đáp ứng triết lý thi công nhanh và hạn chế khối lượng bê tông, các vật liệu khác so với các dạng kết cấu truyền thống, từ đó giúp giảm lượng phát thải carbon và giảm tác động đến môi trường.
Các giải pháp thi công nhanh đề xuất:

Một số giải pháp tiêu biểu:
* Ứng dụng bê tông siêu tính năng (UHPC) cho cầu nhịp lớn:

(Nguồn: Ứng dụng bê tông siêu tính năng (UHPC) cho cầu nhịp lớn - kinh nghiệm quốc tế và khả năng áp dụng tại Việt Nam - TS. Trần Bá Việt)
* Ứng dụng dầm U (HPC) bê tông dự ứng lực lắp ghép:
Kết cấu nhịp dầm U bê tông cường độ cao kinh tế hơn dầm Super T từ 15% đến 20%.
Giảm chiều cao trụ và chiều cao đất đắp đường đầu cầu 0,35 m, giảm tải trọng tác dụng lên kết cấu móng mố, trụ cầu, giảm số lần lao lắp dầm.

Hình 2: Thiết kế với 4 dầm U bằng UHPC thay vì 7 dầm Super T, mặt cắt 4 làn xe là 17,5 m; dầm U bằng UHPC nhịp đơn 50 m, khoảng cách dầm 4,5 m so sánh tính kinh tế kỹ thuật với dầm Super T (40 m) (Nguồn: Nguyễn Trọng Nghĩa, Nghiên cứu, thiết kế, chế tạo trụ và dầm U bê tông dự ứng lực lắp ghép cho cầu đường bộ với chiều dài nhịp từ 35 m đến 45 m)
* Dầm cánh I cánh rộng:

Dầm cánh rộng WF1600, chiều dài nhịp 40 m, tải trọng thiết kế HL93 (Đề tài KCTCN, Nguyễn Viết Trung, Ngô Châu Phương)

Dầm cánh rộng WF1700, chiều dài nhịp 60 m, tải trọng thiết kế HL93 (Ngô Văn Minh)

So sánh dầm cánh rộng và dầm Super-T cho thấy loại kết cấu này giúp tiết kiệm vật liệu hơn so với các dạng dầm khác, do vậy về lâu dài là một giải pháp giúp giảm phát thải carbon, giảm tác động môi trường (Ngô Văn Minh và cộng sự, 2024), Nghiên cứu khả năng ứng dụng dầm bản rộng.
* Dầm T ngược cải tiến nối bản cánh dưới:

Nguồn: Nguyễn Viết Trung, Ngô Châu Phương và cộng sự (2016), Nghiên cứu giải pháp kết cấu và công nghệ thi công nhanh các công trình cầu tại TP. Hồ Chí Minh
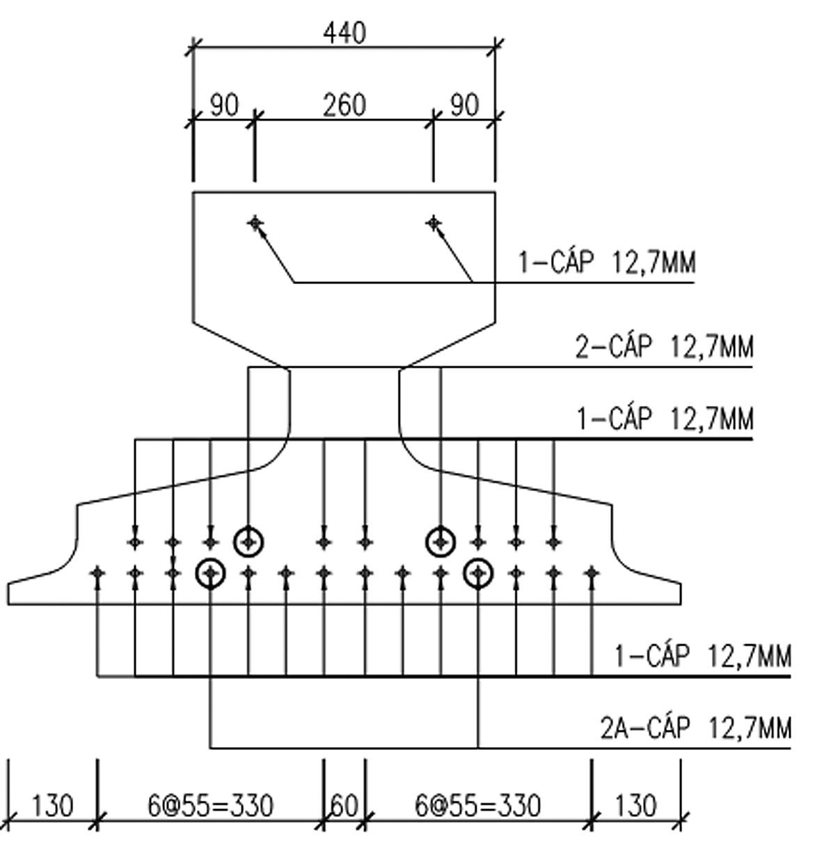
* Thiết kế kết cấu mố, trụ thi công nhanh:

Nguồn: Nguyễn Viết Trung, Ngô Châu Phương và cộng sự (2016), Nghiên cứu giải pháp kết cấu và công nghệ thi công nhanh các công trình cầu tại TP. Hồ Chí Minh

Sử dụng trụ kết cấu dạng ống nhòm gồm 2 cọc 2,0 m với vùng địa chất yếu dày từ 30 - 60 m; Không sử dụng bệ cọc, số lượng cọc ít sẽ rút ngắn tiến độ thi công; Tiết kiệm chi phí xây dựng móng mố trụ đến 13 - 17%. (Nguồn: Nguyễn Trọng Nghĩa, Nghiên cứu, thiết kế, chế tạo trụ và dầm U bê tông dự ứng lực lắp ghép cho cầu đường bộ với chiều dài nhịp từ 35 m đến 45 m)
Kết luận và kiến nghị giải pháp
Phương án cầu cạn thi công nhanh là giải pháp giải quyết đồng thời các thách thức về địa hình thấp, đất yếu, thiếu cát thi công, ngập lụt do sụt lún, nước biển dâng, không cản trở thoát lũ, ít phá hoại cảnh quan sinh thái, đảm bảo đời sống của người dân, đáp ứng yêu cầu đánh giá tác động môi trường... Ưu điểm nổi bật của phương án cầu cạn so với phương án khác:
- Giảm đáng kể diện tích chiếm dụng;
- Đảm bảo thông thoáng, không chia cắt vùng sản xuất nông nghiệp, cánh đồng mẫu lớn;
- Tiến độ thi công nhanh không bị ảnh hưởng do thiếu vật liệu nền và phải chờ lún, cố kết;
- Phân phối đều phù sa cho toàn ĐBSCL, không cản trở thoát lũ hay bồi lắng;
- Không bị ảnh hưởng bởi biến đổi khí hậu, đặc biệt là lũ lụt và nước biển dâng ở ĐBSCL, tuân thủ Điều 29 Luật Bảo vệ môi trường và đảm bảo tính khả thi của dự án;
- Cầu cạn sử dụng kết cấu định hình, kiểm soát được chi phí xây dựng;
- Đảm bảo vận hành thông suốt trong quá trình khai thác, không cần đền bù lún, chi phí bảo dưỡng thấp;
- Phát triển ngành vật liệu xây dựng trình độ cao, góp phần giảm phát thải CO2.
Cầu cạn đã được ứng dụng thành công tại các dự án xây dựng đường cao tốc tại ĐBSCL (dự án TP. Hồ Chí Minh - Trung Lương).
Việc áp dụng giải pháp cầu cạn thi công nhanh là hướng đi phù hợp cho ĐBSCL, nhằm đáp ứng các thách thức về địa hình, khí hậu và phát triển hạ tầng giao thông bền vững. Các giải pháp kỹ thuật và tổ chức thi công tiên tiến theo công nghệ ABC cần được tiếp tục nghiên cứu và áp dụng rộng rãi.
Đường sắt tốc độ cao (ĐSTĐC) Bắc - Nam là dự án trọng điểm quốc gia, có ý nghĩa hết sức quan trọng, góp phần phát triển kinh tế - xã hội, công nghiệp hóa, hiện đại hóa đất nước. Trong đó, việc tiếp nhận chuyển giao công nghệ, phát triển công nghiệp và đào tạo nguồn nhân lực là một trong những yếu tố quan trọng đảm bảo quá trình đầu tư, vận hành, khai thác hiệu quả và từng bước đưa đường sắt tốc độ cao trở thành động lực phát triển của nền kinh tế.
Ngày 9/1 tại Hà Nội, Trường Đại học Giao thông vận tải (GTVT) phối hợp Trường Đại học Giao thông Tây Nam (Trung Quốc) tổ chức Hội thảo quốc tế Xây dựng đường sắt tốc độ cao tại Việt Nam và Kinh nghiệm của Trung Quốc.
Tại Việt Nam, chi phí logistics trung bình ở mức tương đương 16,8 - 17% GDP và vẫn còn ở mức khá cao so với mức bình quân chung của thế giới (khoảng 10,6%). Với tốc độ tăng lượng hàng hóa nêu trên, nếu cơ sở hạ tầng logistics và tính kết nối giữa các phương thức vận tải không được cải thiện sẽ không thể đáp ứng được nhu cầu vận tải, tình trạng tắc nghẽn các tuyến đường dẫn vào cảng biển chính sẽ ngày càng nghiêm trọng, khi đó chi phí logistics có thể tăng cao hơn so với thời điểm hiện tại, nếu không có giải pháp vận tải lâu dài, bền vững.
Tiêu chuẩn kỹ thuật số 44 (UN Regulation No.44 - UN R44) và Tiêu chuẩn kỹ thuật số 129 (UN Regulation No.129 - UN R129) do Ủy ban Kinh tế Liên hợp quốc về châu Âu (UNECE) ban hành cho hệ thống thiết bị an toàn của trẻ em trên xe ô tô. Hai tiêu chuẩn này được trình bày và so sánh với nhau để làm rõ tính ứng dụng thực tế vào Việt Nam. Bên cạnh đó, tình hình áp dụng hai tiêu chuẩn này trên thế giới và cụ thể tại Malaysia được trình bày chi tiết. Hiện tại, Việt Nam nên áp dụng đồng thời cả hai tiêu chuẩn để khuyến khích người đi ô tô sử dụng ghế trẻ em theo khả năng tài chính và nhu cầu an toàn; đồng thời nên có định hướng dẫn chuyển hoàn toàn sang UN R129.
Theo Cục Đăng kiểm VN, 5 thông tư mới về lĩnh vực đăng kiểm cùng có hiệu lực từ 1/1/2025, nhằm đồng bộ hóa về thời gian với Luật Trật tự, ATGT đường bộ.
6 quốc gia dọc tuyến sông Lan Thương – Mê Kông đang hướng đến xây dựng, áp dụng các quy định chung về giao thông thủy trên tuyến sông này; tiến tới thiết lập mạng lưới vận tải thủy xuyên suốt 4 nước.
Bình luận
Thông báo
Bạn đã gửi thành công.