Xác định vector tải trọng nút phần tử dây neo công trình biển nổi do tải trọng sóng ngẫu nhiên bằng phương pháp phần tử hữu hạn

sao sao sao sao sao
09/06/2018 09:11

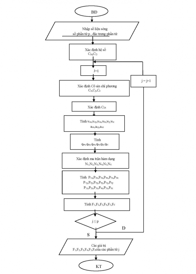
Áp dụng phương pháp phần tử hữu hạn có thể xác định vector tải trọng nút của phần tử khi biết các thành phần tải trọng sóng ngẫu nhiên tác dụng lên phần tử.

le_Page_1

 

le_Page_2
le_Page_3
le_Page_4
le_Page_5
le_Page_6
le_Page_7
le_Page_8
le_Page_9
Ý kiến của bạn

Bình luận

Ứng dụng CNTT trong hoạt động vận tải nhằm giảm chi phí logistics

Ứng dụng CNTT trong hoạt động vận tải nhằm giảm chi phí logistics

Bài báo đề cập tới lợi ích và giải pháp cần thiết để doanh nghiệp Việt Nam ứng dụng công nghệ thông tin (CNTT)...

Nghiên cứu ứng dụng logic mờ trong phân tích tài chính dự án giao thông theo hình thức hợp tác công - tư

Nghiên cứu ứng dụng logic mờ trong phân tích tài chính dự án giao thông theo hình thức hợp tác công - tư

Phát triển cơ sở hạ tầng giao thông sẽ tạo điều kiện để phát triển kinh tế - xã hội, đáp ứng tiến trình hội nhập kinh tế...

Đánh giá ảnh hưởng của hệ số tổn thất khí động qua xu-páp nạp, thải đến các thông số vận hành của động cơ Hyundai 2.5TCI-A

Đánh giá ảnh hưởng của hệ số tổn thất khí động qua xu-páp nạp, thải đến các thông số vận hành của động cơ Hyundai 2.5TCI-A

Hiện nay, việc tính toán chu trình công tác (CTCT) của động cơ đốt trong thường sử dụng các phần mềm mô phỏng (PMMP) chuyên dụng như: Diesel RK, GT - Power, AVL - Boost…

Nghiên cứu sóng hài dòng điện hệ thống cung cấp điện kéo đường sắt đô thị

Nghiên cứu sóng hài dòng điện hệ thống cung cấp điện kéo đường sắt đô thị

Đường sắt đô thị là loại hình GTVT đáp ứng nhu cầu đi lại của người dân trong các thành phố hiện đại.

Nghiên cứu đặc tính thâm nhập ion clo của bê tông geopolymer tro bay

Nghiên cứu đặc tính thâm nhập ion clo của bê tông geopolymer tro bay

Bài báo trình bày kết quả nghiên cứu đặc tính thâm nhập ion clorua của bê tông geopolymer tro bay.

Nghiên cứu đặc điểm đi lại và đề xuất giải pháp phát triển xe đạp công cộng tại các đô thị ở Việt Nam

Nghiên cứu đặc điểm đi lại và đề xuất giải pháp phát triển xe đạp công cộng tại các đô thị ở Việt Nam

Xe đạp công cộng được nhiều quốc gia trên thế giới xem là mắt xích cuối cùng trong chuỗi vận tải đa phương tiện